在线存证平台
项目时间
- 2018/3 - 2018/5
项目简介
- 第三方电子证据综合服务平台,通过在线签署借款电子合同,保证签署双方的身份主体信息真实有效。借款人和投资人通过平台签署借款协议,使得借款流程有理有据,保证了双方的合法权益,减少双方的不必要纠纷。
- 实现小程序客户端、Web后台管理的在线借据存证平台
技术实现
- Java Web 框架:SpringBoot
- 数据库:MySQL 5.6 + Redis
- 服务器:Centos 7.3
- 移动端实现:微信小程序
- 系统后台管理:vue.js + bootstrap
- 文档技术:接口文档使用 apidoc,项目说明使用 kancloud 在线文档
- 代码托管:码云
我的工作
- 需求分析,前后台技术选型
- 数据库设计、定时备份、Redis缓存
- Java 后台 RESTful API 接口开发(实现 JWT 接口验证)
- HTTPS 证书配置、Nginx 代理
- Linux 正式、测试服务器搭建
- 对接第三方接口平台(包括:微信支付、银行卡四要素验证、短信服务)
- 后台实现定时任务、短信消息队列
- 业务逻辑、流程图
项目难点
- 暂时还没想好
项目优化
- 待完善
项目展示
接口文档(使用 apidoc 工具编写)
小程序移动端入口(二维码)

移动端截图

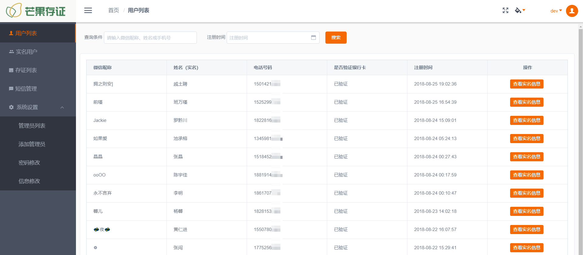
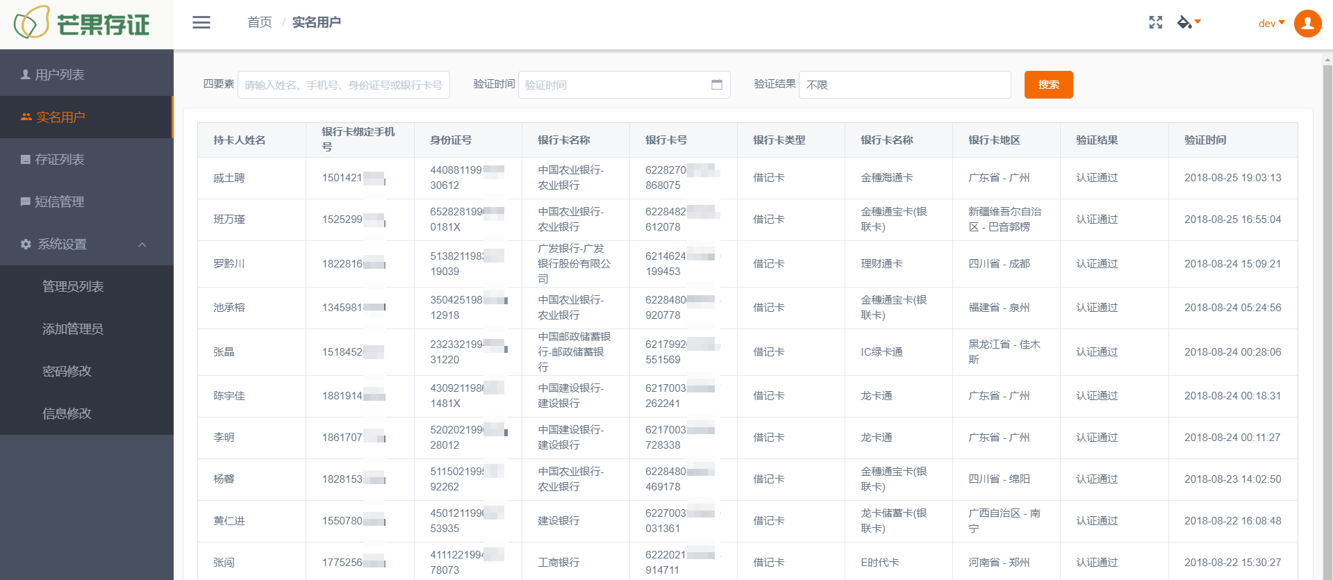
系统后台截图




代码统计
PS D:\dev> .\cloc-1.76.exe .\mango_server\
github.com/AlDanial/cloc v 1.76 T=1.00 s (297.0 files/s, 31021.0 lines/s)
-------------------------------------------------------------------------------
Language files blank comment code
-------------------------------------------------------------------------------
JavaScript 66 370 790 6539
Java 90 1620 2633 6331
XML 120 0 0 5078
JSON 5 3 0 4787
SQL 1 20 57 787
HTML 2 63 0 607
CSS 4 98 37 492
Bourne Shell 1 29 51 145
DOS Batch 2 32 0 114
Maven 1 36 53 110
Markdown 3 16 0 64
YAML 2 8 0 51
-------------------------------------------------------------------------------
SUM: 297 2295 3621 25105
-------------------------------------------------------------------------------